在企业内部真正落地AI,远不是引入一个大型模型或部署一个智能体就能解决的事情。它涉及从底层算力、模型选型,到应用开发、场景融合,再到最终由谁来使用、如何管理、怎样保障安全等一系列复杂环节。
这是一个名副其实的系统工程。
经过近一年在真实场景中的反复实践与磨练,如今我们已经可以清晰地总结出一条可操作、可执行的AI落地路径。这个过程,恰如修建一栋房屋,从打好地基到最终精装入住,每一步都环环相扣。
01.
第一步,打好地基、搭建主体结构:构建企业专属的AI基础设施
无论从技术演进还是政策导向来看,AI最终会成为一种如水电般的基础资源。但若想在企业中用上这种“资源”,就必须先拥有自己的“房屋”。这个“房屋”,就是承载一切AI活动的基础系统。
它就像一个已经搭完了主体结构、做好了水、电、气改造的“清水房”。以Kymo AI生产平台为例,它整合了从底层的算力资源、模型部署,到智能体的开发环境集成,为AI能力的引入和运转提供了最基本的空间。
没有这个稳固的“房屋”,再强大的AI能力也无法在企业内部“安家落户”。

02.
第二步,是室内设计:利用工具,快速完成AI应用的“设计图纸”
拥有基础空间后,AI在企业内部具体以何种形式呈现,拥有无限的可能性。它可以像毛细血管一样,融入市场、研发、业务、管理等每一个组织单元。
此时,企业需要的是“设计工具”。正如设计师需要CAD或SketchUp来将创意可视化一样,企业也需要像Dify、扣子、RAGFlow、n8n等开发平台,来快速构建和验证AI应用原型。这些工具让业务人员与技术开发者能够协同工作,以低成本又高效的方式,将一个个场景想法“设计”成可运行的AI工作流。Kymo支持Dify商业版、RAGFlow、扣子、n8n等开发平台,全程提供企业所需的“设计能力”——技术与服务支持。
03.
第三步,是组织施工队:将“设计图纸”转化为可投入使用的实体
精美的设计图不等于可以居住的房子。从AI工作流到真正稳定、安全、可用的企业级应用,要经过“施工”环节。这个环节需要在你的“AI房屋”(即基础设施)内完成,执行者可以是企业内部的技术与业务团队,也可以是专业的外部团队。
这个阶段的核心工作是测试、部署、权限管控和安全加固。对于大多数企业来说,从头自研AI生产平台是不现实的。这时候就需要像Kymo这样的生产管理平台,做完数据安全、权限划分、集成发布等“软装”。
一个在开发平台上跑通的工作流,唯有经过这些严格的“施工”流程,才能被放心地投入到企业的核心生产环境中,承担起实际业务工作。

04.
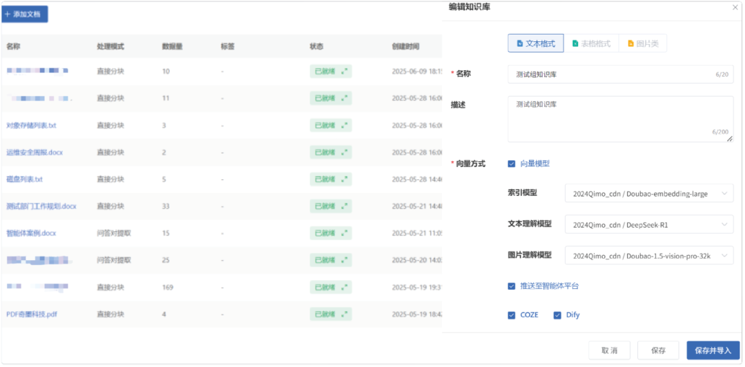
第四步,是创造记忆:让知识库成为AI的“记忆与智慧”
基础设施提供了稳固的“空间与软装”,开发工具实现了灵活的“功能设计”,实施团队完成了可靠的“装修施工”。而真正让这座AI大厦产生独特价值的,是企业日积月累的数据与知识。
企业的知识库,就如同房屋中的书籍、文件与档案,是AI进行判断和决策的依据。只有当AI接入了这些专属的“记忆”后,它才能从一个什么都会的“聪明学生”,转变为了解企业一切、能解决实际业务问题的“领域专家”,从而释放出最大的价值。
在Kymo上,私有化部署企业知识库,无论是“聪明学生”还是“领域专家”,都可以保证他只是看了数据,并不会带走数据。
总结而言,构建企业AI系统工程,就像修建一座坚固而智能的大厦。先通过基础设施打好地基、建好主体;再利用开发工具进行精心的室内设计;接着依靠实施团队完成高质量的施工;最终,用企业独有的知识库为整座大厦注入记忆与智慧。
走上这一清晰的路径,你的企业便能一步步筑起真正属于自己、并能创造价值的AI系统工程。



